江西

成立公司以后什么时候报税呢?涉及哪些税种?#南昌代理记账报税

发表于2026-04-03浏览:4871

公司一般什么时候报税?


微信图片_20220720111117.png


很多老板在成立公司之前经常会问:“我成立公司以后什么时候报税呢”?小二财税跟大家一起分享一下公司经常会涉及到的一些税种一般什么时候报税。


一、弄清公司是一般纳税人还是小规模纳税人


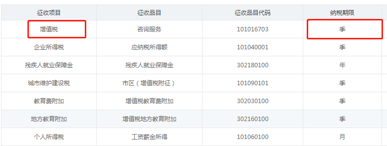
因为一般纳税人和小规模纳税人的报税时间是稍微有区别的,但也有相同的地方,所以在弄清楚公司啥时候报税前就得分清一般纳税人和小规模纳税人。怎么知道自己公司是一般纳税人还是小规模纳税人呢?很简单,登录自己的电子税务局后,点击“我的信息”,在“我的信息”这个页面找到“税种认定信息”,然后看到“增值税”一栏对应的“纳税期限”是“季”的,说明是小规模纳税人,如果是“月”的,那就是一般纳税人。另外,也可以看“资格信息”更直接了当的知道自己公司是不是一般纳税人,是一般纳税人的“资格信息”下面都会直接显示是“一般纳税人”。



二、一般纳税人的税务申报时间


1、增值税:按月申报,一般每月的前15日申报上一个月的增值税。

2、企业所得税:按季申报,一般每季度的前15日申报上一个季度的企业所得税。

3、个人所得税:按月申报,一般每月的前15日申报上一个月的增值税。

4、其他税种(略)



三、小规模纳税人的税务申报时间


1、增值税:按季申报,一般每季度的前15日申报上一个季度的增值税。

2、企业所得税:按季申报,一般每季度的前15日申报上一个季度的企业所得税。

3、个人所得税:按月申报,一般每月的前15日申报上一个月的增值税。

4、其他税种(略)



四、总结


大家有没有发现,一般纳税人和小规模纳税人在报税日期上的差别主要是在“增值税”上面?一般纳税人按月申报,小规模纳税人按季申报。而其他的税种申报日期基本是一致的,这也是一般纳税人和小规模纳税人的区别之一。



 纳税人资格


增值税


企业所得税


个人所得税

一般纳税人

按月申报

按季申报

按月申报

小规模纳税人

按季申报

按季申报

按月申报

您现在知道公司一般什么时候报税了吗?

END


工商财税咨询热线:17770848496(微信同号)

微信图片_20220607141549.png

关注江西小二财税,收获节税小妙招!

公司位置:江西省南昌市青山湖区京东镇月坊胡村江西流量经济产业基地2号楼3楼

------------------------------------------------------------

南昌工商营业执照注册代办-南昌代理记账报税-南昌代办注册公司-商标注册-小二财税